D95手扳葫蘆一自重輕&小尺寸 德國
Yale耶魯手扳葫蘆
額定載荷 1500 - 3000 公斤
Yale葫蘆中D95型號延續D85型號的許多關鍵設計及特色,但因其高性能合金材質使得D95具有很低的自重和極輕巧的設計尺寸,是用于移動、定位和鎖緊重物的通用型工具。
產品特性
具有自鎖功能的制動器,可用于防止載荷震動導致的制動松脫
標配鍍鋅鏈條,經黃色鉻酸鹽處理,符合國內和國際上的標準和規定
標準配置快速手輪機構可快速地裝載滑鏈裝置,可通過兩個方向快速托送滑鏈
機體和手柄采用耐碰撞鍛造合金制成
短手柄符合人體功能學,套有橡膠于柄
產品選項
所有型號都可以選擇過載保護器,該保護器征出廠時預先設定在人約25%±15%的過載量上
吊索
技術參數

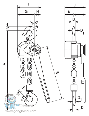
圖片尺寸
