菲尼克斯電氣用于多種安全功能的安全繼電器
安全繼電器可靠監控設備或系統的功能安全。
如需急停、光柵、安全門或雙手控制等安全功能,
可選擇成熟的PSRclassic標準型或寬度僅6 mm和12 mm的PSRmini超薄型。
或者,也可將兩種型號組合,提高應用的安全性。
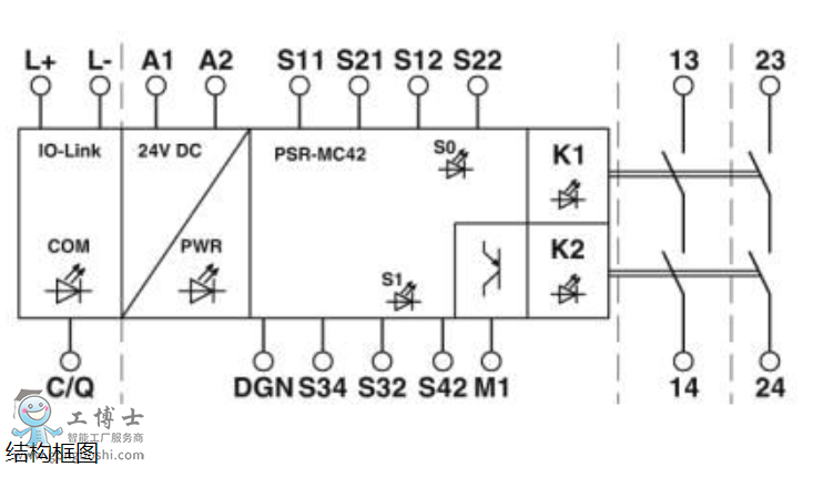
安全繼電器 - PSR-MC42-2NO-1DO-24DC-SC - 2702901
帶IO-Link的安全繼電器,用于急停、安全門和光柵,
高達SILCL 3,類別4,PL e,2個傳感器回路,
自動或手動,監控起動,2個啟用電流路徑,
1個信號輸出,US = 24 V DC,plug-in螺釘連接器
結構圖:
