菲尼克斯電氣用于多種安全功能的安全繼電器
安全繼電器可靠監控設備或系統的功能安全。
如需急停、光柵、安全門或雙手控制等安全功能,
可選擇成熟的PSRclassic標準型或寬度僅6 mm和12 mm的PSRmini超薄型。
或者,也可將兩種型號組合,提高應用的安全性。
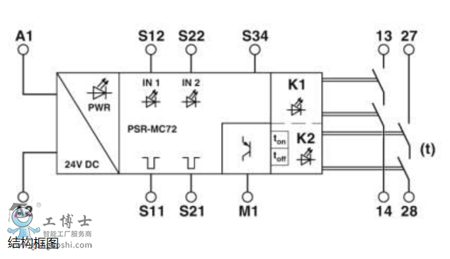
安全繼電器 - PSR-MS50-1NO-1DO-24DC-SC - 2904956
用于監視非等效信號發生器的安全繼電器,
滿足SILCL 3、Cat.4、PL e、雙通道、非等效操作、
自動起動、1個啟動電流通路、Us = 24 V DC、固定式螺釘連接器
結構圖:
