
應用:
帶有安全功能的限位開關適用于滑動連接和鉸鏈連接,使用時必須封閉,以保證使用的安全。
本章中所示的所有1級安全開關在與安全控制模塊組合使用時能達到類別3或4,依據ISO 13849-1。
1級限位開關的進一步應用多數是各種各樣的定位職能。各種各樣的操動元件可滿足許多日常任務的要求。
設計及操作方式:
在1級限位開關上,防護裝置和肯定斷開NC觸點正連接。
所有安全開關外殼的防護等級為IP 67 安全開關可以安裝在任何需要的安裝位置。

|
施邁賽限位開關PS116-T11-LR200-K200 滾輪偏移 |
|
|
l帶線右,2M |
|
|
l緩動型 1 常開觸點(NO) / 1 打開(NC) |
|
|
l熱塑外殼/對稱外殼 |
|
|
l操動頭可按8 x 45°重新安裝 |
|
|
l防護等級 IP66, IP67 |
|
總體數據 |
|
|
標準 |
EN IEC 60947-5-1 |
|
端子(機械) |
右面 |
|
外殼結構類型 |
標準結構設計 |
|
總體數據 - 產品特性 |
|
|
安全功能 |
是 |
|
輔助觸點數量 |
1 |
|
安全觸點數量 |
1 |
|
安全評估 |
|
|
標準 |
EN ISO 13849-1 |
|
任務時間 |
20 年 |
|
安全評估 - 安全輸出 |
|
|
B10D 常閉觸點(NC) |
20,000,000 操作 |
|
機械參數 |
|
|
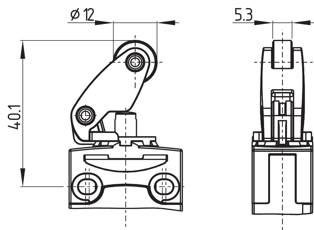
執行元件 |
偏置滾輪搖臂 K200 |
|
機械壽命,Z少 |
10,000,000 操作 |
|
操動力,Z小 |
7.5 N |
|
肯定斷開操作力,Z小 |
40 N |
|
操動速度,Z小 |
60 mm/min |
|
操動速度,Z大 |
1 m/s |
|
操動扭矩,Z小 |
0.2 Nm |
|
肯定斷開力矩 |
0.6 Nm |
|
Mechanical data - Connection technique |
|
|
終端連接器 |
電纜,4芯 |
|
線纜長度 |
2 m |
|
線纜截面 |
0.5 mm2 |
|
電纜型號 |
LiYY |
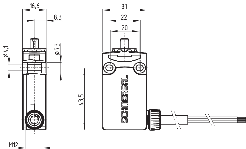
五、機械參數-尺寸
|
機械參數 - 尺寸 |
|
|
傳感器長度 |
16.6 mm |
|
傳感器寬度 |
31 mm |
|
傳感器高度 |
83.6 mm |
|
萬向輪直徑 |
12 mm |
|
環境條件 |
|
|
防護等級 |
IP67 |
|
環境溫度,***小 |
-30 °C |
|
環境溫度,***大 |
+80 °C |
|
Ambient conditions - Insulation values |
|
|
額定絕緣電壓 |
300 V |
|
額定沖擊耐受電壓 |
4 kV |
|
電氣參數 |
|
|
熱測試電流 |
5 A |
|
依據EN 60947-5-1額定短路電流 |
400 A |
|
應用類別 AC-15 |
240 VAC |
|
應用類別 AC-15 |
3 A |
|
應用類別 DC-13 |
24 VDC |
|
應用類別 DC-13 |
1.5 A |
|
開關元件 |
NO觸點,NC觸點 |
|
開關原理 |
緩動開關 |
|
回彈時間,***大 |
3 ms |
|
開關頻率 |
5,000 /h |
|
切換時間,***大 |
5.5 ms |



專業銷售施邁賽限位開關、施邁賽安全磁傳感器 、施邁賽安全監控模塊、施邁賽安全開關傳感器等。歡迎來電咨詢!
品類齊全
省心省力,一站購齊
一對一客服
選型詢價,快速響應
貨期保障
多倉直發,貨期無憂
正品貨源
正品保障,誠信服務




